跳到主要內容區塊
手機版選單
search
分享、字級大小、列印、注音符號、回上一頁及搜尋不支援No JavaScript
搜尋
進階搜尋
機關介紹
歷史沿革
大事紀要
局長介紹
副局長介紹
主任秘書介紹
督察長介紹
業務職掌
組織架構圖
單位願景
單位聯絡資訊
警光會館
歷任局長
政府資訊公開
地方自治法規
行政規則
施政計畫及業務統計
預算及決算書
統計資訊專區
會計月報
個人資料保護法公開作業
公職人員利益衝突迴避法案件公開揭露專區
公益揭弊者保護專區
辦理政策及業務宣導專區
公告資訊
焦點新聞
公告欄
政令宣導
招標資訊
防空疏散避難專區
環島監視錄影系統數量
測速執法點設置位置
刑事案件概況分析
交通事故概況分析
即時新聞澄清專區
公示送達、公告招領專區
風險管理(含內部控制)
便民服務
業務申辦事項
資料查詢服務
法規查詢
局長信箱
重大災害通報專區
交通違規簡訊服務
交通違規檢舉專區
業務專區
犯罪預防宣導
交通安全宣導
道安專區
少年婦幼專區
防制人口販運
保防宣導專區
民防專區
相關連結
政府機關相關連結
其他相關連結
收件者Email
回首頁
網站導覽
局長信箱
雙語詞彙
English
訊息
資安及隱私權宣告
無障礙聲明
著作權聲明
:::
金門縣警察局
金門縣警察局
收件者Email
回首頁
網站導覽
局長信箱
雙語詞彙
English
字級
字級小
字級中
字級大
search
分享、字級大小、列印、注音符號、回上一頁及搜尋不支援No JavaScript
搜尋
進階搜尋
機關介紹
歷史沿革
大事紀要
局長介紹
副局長介紹
主任秘書介紹
督察長介紹
業務職掌
組織架構圖
單位願景
單位聯絡資訊
警光會館
歷任局長
政府資訊公開
地方自治法規
行政規則
施政計畫及業務統計
預算及決算書
統計資訊專區
會計月報
個人資料保護法公開作業
公職人員利益衝突迴避法案件公開揭露專區
公益揭弊者保護專區
辦理政策及業務宣導專區
公告資訊
焦點新聞
公告欄
政令宣導
招標資訊
防空疏散避難專區
環島監視錄影系統數量
測速執法點設置位置
刑事案件概況分析
交通事故概況分析
即時新聞澄清專區
公示送達、公告招領專區
風險管理(含內部控制)
便民服務
業務申辦事項
資料查詢服務
法規查詢
局長信箱
重大災害通報專區
交通違規簡訊服務
交通違規檢舉專區
業務專區
犯罪預防宣導
交通安全宣導
道安專區
少年婦幼專區
防制人口販運
保防宣導專區
民防專區
相關連結
政府機關相關連結
其他相關連結
分享
分享到Facebook(另開新視窗)
分享到google+(另開新視窗)
Plurk(另開新視窗)
分享到twitter(另開新視窗)
分享到line(另開新視窗)
分享到email(另開新視窗)
:::
首頁
公告資訊
公示送達、公告招領專區
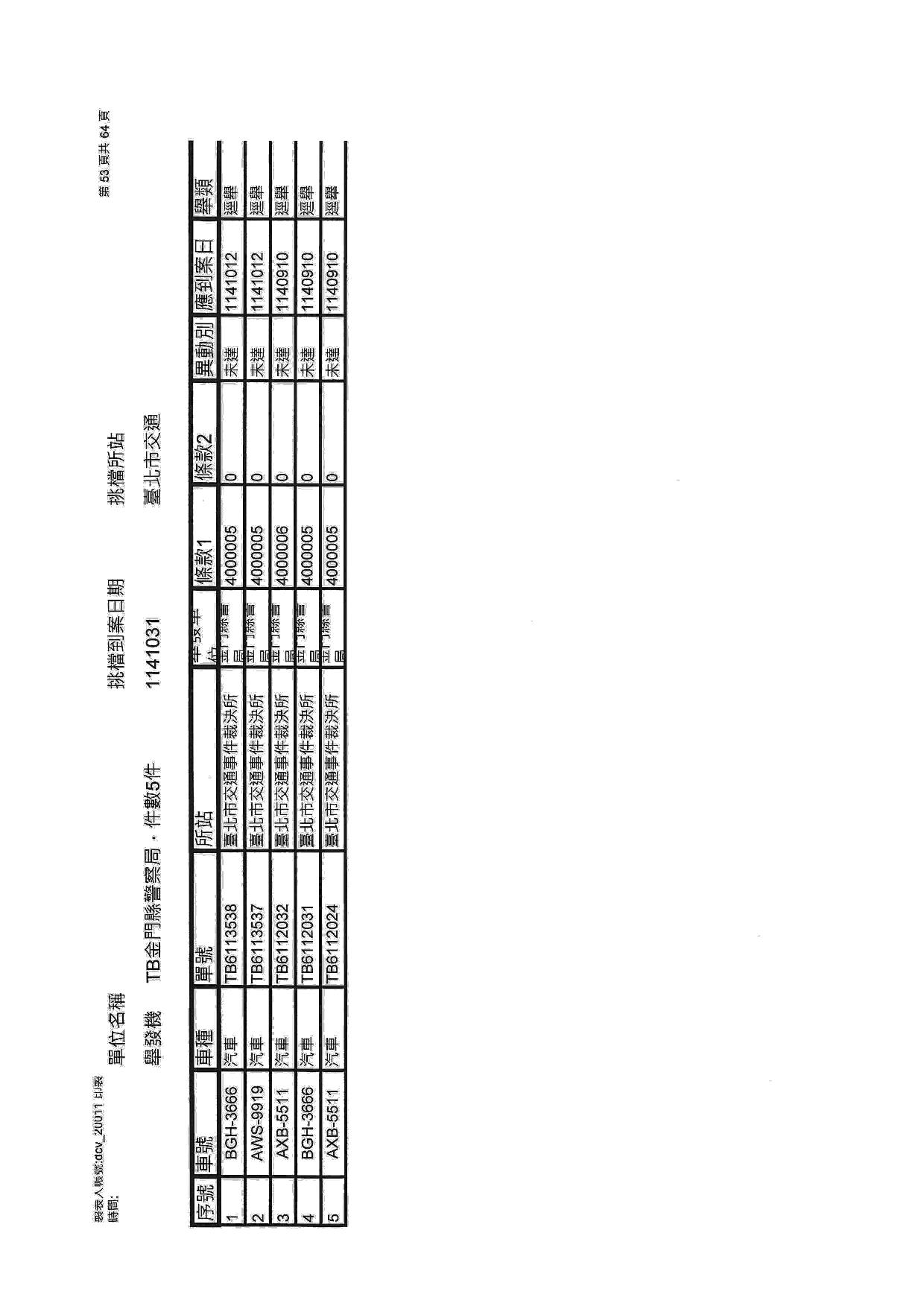
臺北市交通裁決所1141031未達清冊
臺北市交通裁決所1141031未達清冊
網頁功能
列印內容
MataData
注音符號
臺北市交通裁決所1141031未達清冊